The Penguin is the final result of a thirty week design process in which a team of four senior Manufacturing and Design Engineering students set out to identify a common and non-obvious problem and engineer a solution. The synthesis of the project presents as a fully functional counter-top prototype, along with a comprehensive design review.

Quarter 1: Problem Identification

 

Problem Finding

Our research methodology began with each team member conducting individual interviews and calling on personal experience to brainstorm ideas for the team to further explore. From our list of 100+ ideas, we were able to narrow our focus to a final 3 through organizing interviews, researching relevant technologies, and diving deeper into the areas of focus.

meat storyboard.PNG

Problem Testing

Once we had arrived at our 3 final problem areas to develop solutions for - thawing meat, carrying items while on crutches, and the sanitization/storing of facemasks - we learned more about the specifics of each area through benchmark testing, user testing and interviews, expert interviews, and patent and literature research.

meat survey chart.PNG

Problem Analysis

To determine the validity of a problem area, the team created parameters based around what they thought a ‘right now’ problem in need of a good solution would be. After evaluating the opportunity whitespace, relevant stakeholders, and the needs and metrics of each problem, the team decided to move forward with the Thawing Meat area.

 
Fall Quarter Report

Quarter 2: Testing

 
meat test bed.png

Testing Goals

Once we had eliminated the other spaces, we were able to better define our mission statement: “Our goal is to create a solution that allows a home cook to safely and rapidly thaw meat for 1- 4 people, without compromising the quality of the meat.” Having a singular space as our focus, our goals for the quarter were to conduct rigorous testing to better understand the problem we were attempting to solve. The testing focused largely on the circulation of water as a method of heat transfer for thawing meat, which can be viewed in full in our Winter Report.

 
meat test data.png

Testing Results

After three separate stages of testing thawing materials with and without certain variables, the team was able to confidently form specifications for tests performed on a 1 lb block of ground beef. These included a thawing time less than an hour, a max temperature difference less than 20 F, and an exposure to temperatures above 40 F less than 30 minutes. With these specs in mind, we were able to focus on developing our product and improving upon these specs through creating a faster and more uniform flow, regulating temperature, and ensuring the meat is thawing with consistent results.

Winter Quarter Report

Quarter 3: Product Development

 

Prototyping

After rounds of testing with a mockup prototype, we sent the CAD model of the looks-like works-like prototype to the RP Lab to be 3D printed. We were able to assemble the 3D printed parts with our sourced parts in order to achieve a product that functions similar to how we envisioned the final product would work. The one difference between the final design and the prototype is that in the prototype we used the pump as a submersible pump while in the final product it would be an inline pump. Our prototype was able to meet all the specifications that we set based on our testing. It can thaw meat in under 60 minutes, with a temperature difference of less than 30 degrees and a time in the “danger zone” of under 30 minutes.

peng mockup.png

Manufacturing

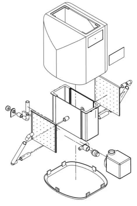
To understand the manufacturing requirements, we divide the components into subsystems where individual parts are evaluated for manufacturing. Some of the parts are designed to be manufactured, and some of them will be purchased from an Original Equipment Manufacturer (OEM). The manufactured parts will all be injection molded of polypropylene plastic. Each part has an even wall thickness across the part, lending it the ability to cool evenly and not result in incorrect geometries. The housing of the device is divided into components in such a way that the molds should not need to be too complex. This was achieved by minimizing undercuts wherever possible and eliminating the need for side actions.

peng blowup.PNG

Commercialization

With our manufacturing plan set, we were able to create an estimate for the cost of manufacturing and assembly (~ $44.33) in the US and move along with a commercialization plan. This featured three business model canvases for key stakeholders, regulation metrics, a supply chain plan, and funding strategies for future developments. A provisional patent was drafted along with the commercialization plan to secure our intellectual property should we ever choose to bring the product to market. The team ultimately decided that the most reasonable commercialization strategy given our current circumstances and resources would be to license our IP to a development group, or other existing company interested.

peng render.png
 
Final Report